Описание плиты перекрытия ВП 30-12
Плита перекрытия (ВП 30-12) применяется для устройства перекрытий и покрытий в зданиях различного назначения, включая жилые, общественные и промышленные объекты. Изделие изготавливается компанией ГК "БЛОК", которая специализируется на производстве и поставке железобетонных изделий в Москве, из высокопрочного бетона класса В22.5 с армированием стальной арматурой, что обеспечивает её прочность, устойчивость к нагрузкам и долговечность.
Нормативный документ: Альбом РК 2303-86.
Применение плиты перекрытия ВП 30-12
Плита перекрытия ВП 30-12 используется для создания надёжных конструкций перекрытий и покрытий в зданиях различного назначения. Она служит важной частью системы, обеспечивающей безопасность, долговечность и функциональность объектов. Для монтажа могут применяться дополнительные элементы: раствор, закладные детали и другие комплектующие.
Типы плит перекрытия
Железобетонные плиты перекрытия подразделяются на несколько типов в зависимости от назначения и конструкции:
- ВП: плита перекрытия;
- ПК: плита круглопустотная;
- ПД: плита доборная;
- ПУ: плита усиленная.
Размеры зависят от типа: длина 3000–3100 мм, ширина 1200–1300 мм, высота 260–300 мм.
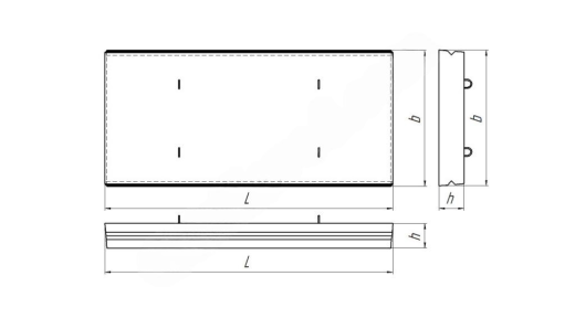
Основные параметры, размеры и характеристики
- Длина L, мм: 3000
- Ширина b, мм: 1200
- Высота h, мм: 260
- Масса, тонн: 2.34
- Класс бетона: B22.5 (марка М300)
- Геометрический объем, м³: 0.936
Дополнительные характеристики
- Марка по морозостойкости: F150–F200;
- Марка по водонепроницаемости: W6–W8;
- Технология изготовления: формование с использованием высокопрочного бетона.
Нормы загрузки
- Норма загрузки в автотранспорт 20 т, шт: 8
Расшифровка маркировки ВП 30-12
Маркировка "ВП 30-12" содержит следующую информацию:
- ВП – плита перекрытия;
- 30 – условная длина изделия в дециметрах (3000 мм);
- 12 – условная ширина изделия в дециметрах (1200 мм).
Условия транспортировки и хранения
Плиты перекрытия ВП 30-12 перевозятся автомобильным или железнодорожным транспортом с использованием специальных захватных устройств (строп). Хранение осуществляется на ровных площадках с твердым покрытием. Плиты устанавливаются горизонтально в штабель высотой не более 2,5 м. Для предотвращения повреждений между изделиями устанавливаются деревянные прокладки.
Контроль качества плиты перекрытия ВП 30-12
Каждая плита перекрытия ВП 30-12 проходит многоступенчатый контроль качества. Проверяются:
- прочность бетона (не ниже класса B22.5);
- соответствие геометрических размеров проектным данным;
- морозостойкость и водонепроницаемость бетона;
- точность расположения закладных элементов;
- отсутствие трещин, сколов и других дефектов.
Заключение
Плита перекрытия ВП 30-12 – это надежный и долговечный элемент для устройства перекрытий и покрытий. Благодаря использованию качественных материалов и современных технологий производства, она обеспечивает прочность, устойчивость и долговечность конструкций. Для заказа качественных железобетонных изделий обращайтесь к профессионалам своего дела – компании ГК "БЛОК".
Смотрите также:
| Варианты написания товара |
|---|
| Плита перекрытия ВП 30-12 |
| ВП 30-12 плита перекрытия |
| Плита перекрытия ВП 30-12 Альбом РК 2303-86 |
| ВП 30-12 Альбом РК 2303-86 |
| ВП 30-12 |
| Плита перекрытия ВП 30-12 ГОСТ |
| ВП 30-12 ГОСТ |
|
ГОСТ/Серия
|
Альбом РК 2303-86 |
|
Длина, мм
|
3000 |
|
Ширина, мм
|
1200 |
|
Высота, мм
|
260 |
|
Масса, тонн
|
2.34 |
|
Класс бетона
|
В22.5 |
|
Геометрический объем, м.куб
|
0.936 |
Как купить
Процесс покупки железобетонных изделий у нас прост и удобен. Следуйте этим шагам:
- Выбор продукции: Ознакомьтесь с нашим ассортиментом и выберите необходимые железобетонные изделия.
- Консультация: Свяжитесь с нашим менеджером для получения консультации по выбору продукции и уточнения всех деталей. Вы можете позвонить нам или написать на электронную почту.
- Оформление заказа: После согласования всех деталей оформите заказ. Менеджер поможет вам заполнить все необходимые документы.
- Согласование доставки: После оформления заказа наш менеджер свяжется с вами для согласования условий и сроков доставки.
- Оплата: Выберите удобный способ оплаты. Мы предлагаем несколько вариантов, включая безналичный расчет.
- Получение товара: После выполнения всех условий заказа, вы получите железобетонные изделия в назначенное время и по согласованному адресу. При получении подпишите акт приема-передачи.
Если у вас возникли вопросы на любом этапе покупки, не стесняйтесь обращаться к нашим менеджерам!
Оплата
Мы принимаем только безналичные платежи и работаем исключительно с юридическими лицами. Пожалуйста, ознакомьтесь с условиями оплаты ниже:
- Способ оплаты: Все расчеты производятся безналичным путем. Мы не принимаем наличные.
- Счет на оплату: После оформления заказа вам будет выставлен счет, который необходимо оплатить в срок, указанный в документе.
- Реквизиты: Все необходимые банковские реквизиты будут предоставлены в счете. Убедитесь, что все данные указаны правильно для успешного перевода.
- Подтверждение оплаты: После осуществления платежа отправьте нам подтверждение, чтобы мы могли оперативно обработать ваш заказ.
- Получение документов: После полной оплаты вы получите все необходимые документы, включая акт выполненных работ, товарные накладные и сертификаты на продукцию.
Мы работаем с НДС и предоставляем все необходимые сертификаты и документы. Все гарантии будут прописаны в договоре, что обеспечивает прозрачность и надежность сотрудничества.
Если у вас есть вопросы по поводу процесса оплаты, не стесняйтесь обращаться к нашим менеджерам за помощью!
Наша оперативность — ваше удобство. Мы гарантируем своевременную доставку железобетонных изделий, что является ключевым фактором для успешной реализации ваших строительных проектов. Доставка осуществляется прямо к вашему объекту с учетом всех стандартов качества.
Основные условия доставки:
• Выбор тарифа: Вы можете выбрать способ расчета стоимости доставки — почасовой или по зонам.
• Согласование: Менеджер свяжется с вами для уточнения деталей после оформления заказа.
• Время на погрузку: Комплектация товара занимает от 1 до 3 дней в зависимости от объема.
• Акт приема-передачи: Продукция передается по акту приема-передачи.
Тарифы на доставку:
Цены варьируются в зависимости от расстояния и региона. Все тарифы включают НДС. При неблагоприятных погодных условиях возможны небольшие изменения в стоимости.
География доставки:
Мы работаем по всей территории РФ и имеем 12 офисов и производств, чтобы обеспечить удобные условия для доставки.
Для точного расчета стоимости доставки обращайтесь к нашим менеджерам!

